請選擇您的送貨地點

國家/地區頁面的選擇會影響各種因素,例如價格、配送方式和產品可用性。
聯絡窗口
台灣易格斯有限公司

igus® Taiwan Company Ltd.

40850 台中市南屯區工業區24路35號5樓

+886 4 2358 1000
+886 4 2358 1100
TW(ZH)

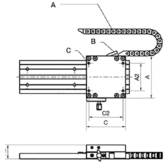
drylin® WKMEX-10-80: Ready-to-install measuring system

A = energychain 045.10.028.0, not part of the article
B = signal cables
C = K2
Very little installation space taken by the drylin® WKMEX measuring system. The sensor head is integrated into the just 36 mm high carriage. There are three sensor options, two are compatible with TTL Line Driver. An igus® e-chain® 045.10.028.0 is recommended for guiding the signal cable. For length-specific part numbers see:
System E2 micro
System easychain®

Ready-to-install system for external data output

At 4 edge triggering (setting parameters of the display or control system, for example, IW4) and +20 °C ambient temperature: resolution: ±(0.025 + 0.02 · L) L = measurement length in metres; repeatability: ±0.025 mm

At 1 edge triggering (setting parameters of the display or control system, for example, IW1) and +20 °C ambient temperature: resolution: ±(0.1 + 0.02 · L) L = measurement length in metres; repeatability: ±0.025 mm

Small sensor with integrated evaluation electronics

Output signals: differential mode sustained short circuit-proof with inverted signals (A. A/, B, B/, Z, Z/)

Delivery Program measuring device

All types A A2 C C2 H2 K2 Resolution    
  [mm] [mm] [mm] [mm] [mm] [mm] [mm]    
WKMEX-10-80-2.5-00-01 107 70 100 87 36 M6 0.1 請洽易格斯 添加到購物車
WKMEX-10-80-2.5-01-01 107 70 100 87 36 M6 0.1 請洽易格斯 添加到購物車
WKMEX-10-80-2.5-11-01 107 70 100 87 36 M6 0.1 請洽易格斯 添加到購物車
所選零件的更多資訊:
三維CAD 三維CAD
樣品索取 樣品索取
PDF PDF
報價請求 報價請求
我的目錄 我的目錄
  Sensor type Nominal voltage Output power max. length of signal cable
  00 10 - 30 V 10 - 30 V 30 m
  01 10 - 30 V 5 V (TTL Line Driver) 50 m
  11 5 V 5 V (TTL Line Driver) 10 m
specifications
Measuring principle Incremental
Repeat accuracy ± 1 increment
Pole division 5 mm
Sensor housing Zinc die cast
Protection class IP67
Operating temperature -10 … +70° C
Max. humidity 95%, non-condensing
Max. speed 4,0 m/s
VDC power supply 5 VDC or 10 to 30 VDC
Current draw 5 VDC: max. 200 mA
10 to 30 VDC: max. 150 mA
Internal evaluation electronics Internal evaluation electronics
Output power 5 V-TTL line driver or 10 to 30 V_HTL
Source tracks A, A‘,B, B‘, Z, Z‘
Max. cable length Max. cable length 5V/5V-TTL = 10 m
10-30V/10-30V = 30 m
10-30V/5V-TTL = 50 m

Max. permissible distance from magnetic tape 2,0 mm
Connection method Open cable ends

More information:


實際出貨時間請洽易格斯

The terms "Apiro", "AutoChain", "CFRIP", "chainflex", "chainge", "chains for cranes", "ConProtect", "cradle-chain", "CTD", "drygear", "drylin", "dryspin", "dry-tech", "dryway", "easy chain", "e-chain", "e-chain systems", "e-ketten", "e-kettensysteme", "e-loop", "energy chain", "energy chain systems", "enjoyneering", "e-skin", "e-spool", "fixflex", "flizz", "i.Cee", "ibow", "igear", "iglidur", "igubal", "igumid", "igus", "igus improves what moves", "igus:bike", "igusGO", "igutex", "iguverse", "iguversum", "kineKIT", "kopla", "manus", "motion plastics", "motion polymers", "motionary", "plastics for longer life", "print2mold", "Rawbot", "RBTX", "readycable", "readychain", "ReBeL", "ReCyycle", "reguse", "robolink", "Rohbot", "savfe", "speedigus", "superwise", "take the dryway", "tribofilament", "triflex", "twisterchain", "when it moves, igus improves", "xirodur", "xiros" and "yes" are legally protected trademarks of the igus® SE & Co. KG/ Cologne in the Federal Republic of Germany and where applicable in some foreign countries. This is a non-exhaustive list of trademarks (e.g. pending trademark applications or registered trademarks) of igus SE & Co. KG or affiliated companies of igus in Germany, the European Union, the USA and/or other countries or jurisdictions.

igus® SE & Co. KG points out that it does not sell any products of the companies Allen Bradley, B&R, Baumüller, Beckhoff, Lahr, Control Techniques, Danaher Motion, ELAU, FAGOR, FANUC, Festo, Heidenhain, Jetter, Lenze, LinMot, LTi DRiVES, Mitsubishi, NUM,Parker, Bosch Rexroth, SEW, Siemens, Stöber and all other drive manufacturers mention on this website. The products offered by igus® are those of igus® SE & Co. KG